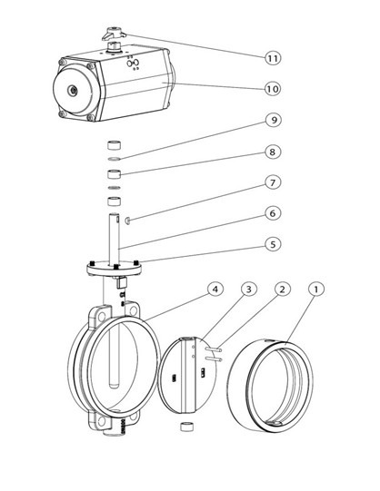
蝶阀是管线优先选用的常规蝶阀,具有结构简洁,流阻系数小,流量特性趋于直线,不会滞留杂物。且重量轻,安装方便,驱动扭矩较小的优点。这种阀门既可作切断介质用,又可作调节介质的流量用。驱动装置根据用户要求,分别可采用手动、电动、气动等方式。选用不同材料的零件,配用不同材料的密封圈,可适应不同的介质、工况,使成本与性能达到最佳效果。
结构简洁|||流阻系数小|||流量特性趋于直线|||不会滞留杂物|||且重量轻|||安装方便|||驱动扭矩较小的优点
技术规范

注:系列蝶阀结构长度及连接对夹法兰尺寸可根据用户要求设计制造
主要零件材质表


注:主要零部件及密封圈的材质亦可根据实际工况条件或用户特殊要求设计选用.

主要外形及连接尺寸

点击下载:BSD641气动阀系列
1
1