邦颂自控
首页
关于邦颂
邦颂产品
成功案例
联系我们
阀体材质:WCB、304、316 公称通径:DN50-500mm 压力范围:1.0、1.6Mpa 流体温度:-20℃-150℃ 功能选项:防爆、调节、开关 连接方式:对夹、法兰 适用介质:水、空气、天然气、油品及弱腐蚀性流体
产品详情
电动对夹式蝶阀有开关型和智能型二种,蝶阀与BS电动执行机构配套,输入控制信号(4~20mADC或1~5VDC)及单相电源即可控制运转,具有功能强、体积小、轻便宜人、性能可靠、配套简单、流通能力大,特别适合于截至是粘稠、含颗粒、纤维性质的场合。目前该阀门广泛应用于食品、环保。轻工、石油、造纸、化工、教学和科研设备、电力等行业的工业自动控制系统中。
产品特点
本阀采用双偏心结构,具有越管越紧的密封功能,密封性能可靠。|||
密封副材料选用不不锈钢和丁腈耐油橡胶配对,使用寿命长。|||
四氟密封即可位于阀体上,也可以位于蝶板上,可适用不同特点的截至,供用户选择。|||
蝶板采用框架结构,强度高,过流面积大,流阻小。|||
整体烤漆、能有效地防止锈蚀且只要更换密封阀座密封材料,就可使用不同介质。|||
本阀具有双向密封功能,安装时不受介质流向的控制,也不受空间位置的影响,可在任何方向安装。|||
本阀结构独特,操作灵活,省力,方便。|||
详细参数

电动衬氟蝶阀主要结构参数

电动衬氟蝶阀主要零部件材料

电动衬氟蝶阀执行标准

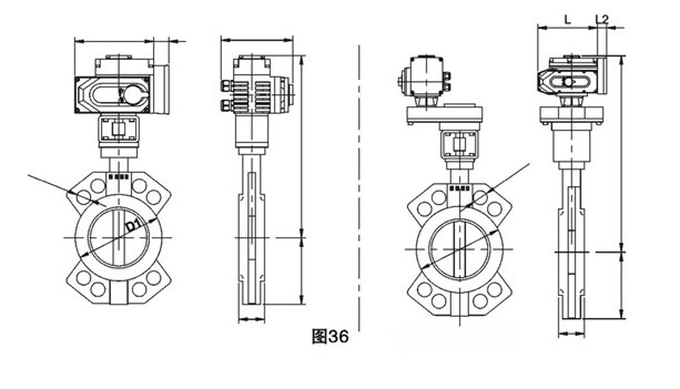
电动衬氟蝶阀主要外形连接尺寸(虚线部分为模拟量控制盒,开关型无此尺寸)

点击下载:BSD971电动阀系列

1
1